電動直通雙座調節閥
一、簡介說明:
ZAZN系列電動直通雙座調節閥由DDZ型系列直行程電動執行機構和直通雙座閥兩部分組成。以單相交流220V電源為動力,接受0~10mA 或4-20mA直流信號,自動地控制調節閥開度,達到對管道內流體的壓力、流量、液位等工藝參數的連續調節。該產品具有動作靈敏、能源取用方便、信號傳輸迅速等特點。適用流體溫度有-250℃~+560℃范圍內多種檔次。泄漏量標準為Ⅱ級或Ⅳ級。流量特性為線性或等百分比。多種多樣的品種規格可供選擇。
二、廣泛應用:
ZAZN系列電動直通雙座調節閥采用雙導向結構,配用9610L系列電子式直行程電動執行機構。電動直通雙座調節閥具有結構緊湊、重量輕、動作靈敏、閥容量大、流量特性準確、拆裝方便等優點。廣泛應用于準確控制氣體、液體、蒸汽等介質的確工藝參數如壓力、流量、溫度、液位保持在給定值。特別適用于壓差較大,允許泄漏量也較大且不是很清潔的介質場合。
三、允許誤差:
標準組配的電動直通雙座調節閥考慮到介質對閥芯、閥座的沖蝕和高壓差引起的噪聲、振動,一般情況下,閥的壓差不應超過1MPa,如壓差較高,則應采取相應的工藝措施。
四、主要零件材料:
1、閥體、閥蓋:HT200、ZG230—450、ZG1Cr18Ni9Ti;
2、閥芯、閥座:1Cr18Ni9Ti、司鈦萊合金堆焊;
3、填 料:聚四氟乙烯、柔性石墨、不銹鋼波紋管;
4、墊 片:聚膠石棉板、1Cr18Ni9Ti、石墨纏繞墊片;
5、閥桿、推桿:2Cr13、1Cr18Ni9Ti;
6、襯 套:2Cr13。
五、主要技術參數:
公稱通徑DN(mm) | 25 | 32 | 40 | 50 | 65 | 80 | 100 | 125 | 150 | 200 | 250 | 300 |
閥座直徑DN(mm) | 25 | 32 | 40 | 50 | 66 | 80 | 100 | 125 | 150 | 200 | 250 | 300 |
額定流量系數Kv | 10 | 16 | 25 | 40 | 63 | 100 | 160 | 250 | 400 | 630 | 1000 | 1600 |
流量特性 | 直線、等百分比 | |||||||||||
公稱壓力PN(MPa) | 1.6,4.0,6.4 | 4.0,6.4 | ||||||||||
連接型式 | 法蘭連接:PN1.6按JB79-59標準; PN4.0按JB79-59標準 | |||||||||||
配用執行機構型號 | DKZ-310 | DKZ-410 | DKZ-410 | DKZ-510 | ||||||||
出抽推力(N) | 4000 | 6400 | 6400 | 16000 | ||||||||
行程L(mm) | 16 | 25 | 40 | 60 | 100 | |||||||
全行程時間(S) | 12.5 | 20 | 32 | 40 | 60 | |||||||
作用方式 | 電開式(K)常用;電關式(B) | |||||||||||
輸入信號 | 0~10mA 4~20mA DC | |||||||||||
供電電源 | 220V;50~60Hz | |||||||||||
固有可調比R | 30:1 | |||||||||||
六、主要技術性能指標:
項目 | 技術性能指標 |
基本誤差% | ≤±5 |
回差% | ≤3 |
死區% | ≤5 |
泄漏量 | 0.01%×閥額定容量 |
額定流量系數誤差% | ≤±10 |
七、閥門材料和適用溫度范圍:
閥體材料 | 材料牌號 | 公稱壓力(MPa) | 適用溫度范圍(℃) | |
常溫型 | 散熱型 | |||
鑄鐵 | HT200 | 1.6 | -20~200 | - |
鑄鋼 | ZG230~450 | 4.0,6.4 | -40~250 | -40~450 |
鑄不銹鋼 | ZG1Cr18Ni9Ti ZG0Cr18Ni12Mo2Ti | 4.0,6.4 | -40~250 | -60~450 |
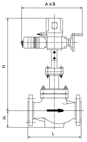
八、外形尺寸:
公稱通徑DN(mm) | A×B | L | H1 | H2 | |||
PN1.6 | PN4.0 | PN6.4 | 常溫型 | 散熱型 | |||
25 32 | 230×460 | 185 | 190 | 200 | 670 | 820 | 104 |
200 | 210 | 210 | 673 | 823 | 107 | ||
40 | 220 | 230 | 235 | 693 | 843 | 126 | |
50 | 250 | 255 | 265 | 698 | 848 | 131 | |
65 | 275 | 285 | 295 | 799 | 959 | 175 | |
80 | 230×530 | 300 | 310 | 320 | 809 | 969 | 190 |
100 | 350 | 355 | 370 | 821 | 981 | 202 | |
125 | 410 | 425 | 440 | 872 | 1087 | 250 | |
150 | 450 | 460 | 475 | 882 | 1097 | 260 | |
200 | 260×630 | 550 | 560 | 570 | 924 | 1139 | 302 |
250 | 670 | 66 | 670 | 1156 | 1368 | 422 | |
300 | 740 | 785 | 800 | 1215 | 1427 | 484 | |
設計訂貨及選型須知事項:
1、①產品名稱與型號②公稱直徑③產品壓力④產品材質⑤使用介質⑥產品溫度⑦是否帶附件以便我們的為您正確選型。
2、如有特殊要求時請在訂購產品時注明。
3、若已經由設計單位選定的型號,請按型號直接向我司銷售部訂購。
4、當使用的場合非常重要或環境比較復雜時,請您盡量提供設計圖。

