彈簧微啟式外螺紋安全閥
Description:
一、產品簡介:
A21H系列彈簧微啟式外螺紋安全閥、A21H-C型外螺紋彈簧微啟式安全閥適用于工作溫度≤200℃的空氣、氨、石油氣等介質的設備或管路上。A21W-P、R型適用于溫度≤200℃有腐蝕性的氣體或液體的設備或管路上,作為超壓保護裝置。A21Y型適用于溫度≤100℃的液化石油氣等。
二、彈簧微啟式安外螺紋全閥標準規范:
設計制造標準:GB/T 12243-2005;
結構長度標準:GB/T 12221-2005;
連接法蘭標準:GB/T 9113;
壓力溫度等級:GB/T 12224-2005;
試驗檢驗標準:GB/T 13927-2008。
三、彈簧微啟式外螺紋安全閥主要零部件材料:
NO. | 零件名稱 | A21H-C/A21F材料 | A21W-P/A21F-P材料 | A21Y-R材料 |
1 | 管接頭 | 20 | 1Cr18Ni9Ti | 1Cr18Ni12Mo2Ti |
2 | 管接頭螺母 | 35 | 2Cr13 | 1Cr18Ni9Ti |
3 | 閥座 | 35 | 1Cr18Ni9Ti | 1Cr18Ni12Mo2Ti |
4 | 閥體 | 2Cr13 | 1Cr18Ni9Ti | 1Cr18Ni12Mo2Ti |
5 | 閥瓣 | 2Cr13/2Cr13+PTFE | 1Cr18Ni9Ti/1Cr18Ni9Ti+PTFE | 1Cr18Ni12Mo2Ti |
6 | 彈簧座 | 2Cr13 | 1Cr18Ni9Ti | 1Cr18Ni12Mo2Ti |
7 | 彈簧 | 50CrVA | 50CrVA包覆氟塑料 | 50CrVA包覆氟塑料 |
8 | 鎖緊螺母 | Q235-A | ZG230-450 | 1Cr18Ni9Ti |
9 | 彈簧導向墊 | 2Cr13 | 1Cr18Ni9Ti | 1Cr18Ni12Mo2Ti |
10 | 調節螺母 | Q235-A | 2Cr13 | 1Cr18Ni12Mo2Ti |
密封面材料 | "Y"型堆焊Co基硬質合金,"H"型堆焊D507,"W"型為閥門本體 | |||
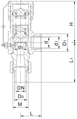
四、彈簧微啟式外螺紋安全閥外形尺寸和連接尺寸:

型號 | 公稱通徑 | do | d | Do | M | d1 | D1 | L | L1 | ≈H |
AA21-16C A21H-16C A21H-40 A21W-16P A21W-40P KA21-16P | 15 | 12 | 15 | 20 | M27×1.5 | G1/2" | 30 | 35 | 76 | 66 |
20 | 16 | 20 | 25 | M33×1.5 | G3/4" | 35 | 40 | 87 | 68 | |
25 | 18 | 25 | 31 | M39×1.5 | G1" | 40 | 50 | 100 | 105 | |
A21Y-64 A21Y-64P A21Y-100 A21Y-100P | 15 | 10 | 15 | 25 | M39×1.5 | G1" | 44 | 50 | 100 | 66 |
20 | 10 | 20 | 31 | M39×1.5 | G1" | 44 | 50 | 100 | 68 | |
25 | 12 | 25 | 31 | M39×1.5 | G1" | 44 | 50 | 100 | 105 | |
A21W-160/160P | 15 | 8 | 20 | / | M24×2 | G1" | 44 | 50 | 100 | 261 |
20 | 8 | 25 | / | M33×2 | G1" | 44 | 50 | 100 | 261 | |
25 | 8 | 28 | / | M36×2 | G1" | 44 | 50 | 100 | 285 |
五、訂貨須知:
1、①產品名稱②型號③規格口徑④公稱壓力⑤閥體材質⑥連接方式⑦傳動方式⑧工作溫度⑨是否帶附件以便我們的為您正確選型。
2、若已經由設計單位選定我公司的型號,請按產品型號直接向我司銷售部訂購。
3、當使用的場所非常重要或環境比較復雜時,請您盡量提供設計圖紙和詳細參數,當使用的場合重要或環境比較復雜時,請您盡量提供設計圖紙和詳細參數,由我們的中偉測控zj****為您審核把關。
瀏覽:
上一篇:彈簧微啟式安全閥
下一篇:彈簧微啟封閉式高壓安全閥

