電動直通雙座調節閥
產品名稱:電動直通雙座調節閥
產品編號:171451-812
產品型號:ZAZN
更新時間:2013.07.17
企業單位:江蘇中偉測控儀表有限公司
瀏覽次數:
更多產品圖片:
產品編號:171451-812
產品型號:ZAZN
更新時間:2013.07.17
企業單位:江蘇中偉測控儀表有限公司
瀏覽次數:
更多產品圖片:
產品詳細介紹:

一、簡介說明:
ZAZN系列電動直通雙座調節閥由DDZ型系列直行程電動執行機構和直通雙座閥兩部分組成。以單相交流220V電源為動力,接受0~10mA 或4-20mA直流信號,自動地控制調節閥開度,達到對管道內流體的壓力、流量、液位等工藝參數的連續調節。該產品具有動作靈敏、能源取用方便、信號傳輸迅速等特點。適用流體溫度有-250℃~+560℃范圍內多種檔次。泄漏量標準為Ⅱ級或Ⅳ級。流量特性為線性或等百分比。多種多樣的品種規格可供選擇。
二、廣泛應用:
ZAZN系列電動直通雙座調節閥采用雙導向結構,配用9610L系列電子式直行程電動執行機構。電動直通雙座調節閥具有結構緊湊、重量輕、動作靈敏、閥容量大、流量特性準確、拆裝方便等優點。廣泛應用于準確控制氣體、液體、蒸汽等介質的確工藝參數如壓力、流量、溫度、液位保持在給定值。特別適用于壓差較大,允許泄漏量也較大且不是很清潔的介質場合。
三、允許誤差:
標準組配的電動直通雙座調節閥考慮到介質對閥芯、閥座的沖蝕和高壓差引起的噪聲、振動,一般情況下,閥的壓差不應超過1MPa,如壓差較高,則應采取相應的工藝措施。
四、主要零件材料:
1、閥體、閥蓋:HT200、ZG230—450、ZG1Cr18Ni9Ti;
2、閥芯、閥座:1Cr18Ni9Ti、司鈦萊合金堆焊;
3、填 料:聚四氟乙烯、柔性石墨、不銹鋼波紋管;
4、墊 片:聚膠石棉板、1Cr18Ni9Ti、石墨纏繞墊片;
5、閥桿、推桿:2Cr13、1Cr18Ni9Ti;
6、襯 套:2Cr13。
五、主要技術參數:
|
公稱通徑DN(mm) |
25 |
32 |
40 |
50 |
65 |
80 |
100 |
125 |
150 |
200 |
250 |
300 |
|
閥座直徑DN(mm) |
25 |
32 |
40 |
50 |
66 |
80 |
100 |
125 |
150 |
200 |
250 |
300 |
|
額定流量系數Kv |
10 |
16 |
25 |
40 |
63 |
100 |
160 |
250 |
400 |
630 |
1000 |
1600 |
|
流量特性 |
直線、等百分比 | |||||||||||
|
公稱壓力PN(MPa) |
1.6,4.0,6.4 |
4.0,6.4 | ||||||||||
|
連接型式 |
法蘭連接:PN1.6按JB79-59標準; PN4.0按JB79-59標準 | |||||||||||
|
配用執行機構型號 |
DKZ-310 |
DKZ-410 |
DKZ-410 |
DKZ-510 | ||||||||
|
出抽推力(N) |
4000 |
6400 |
6400 |
16000 | ||||||||
|
行程L(mm) |
16 |
25 |
40 |
60 |
100 | |||||||
|
全行程時間(S) |
12.5 |
20 |
32 |
40 |
60 | |||||||
|
作用方式 |
電開式(K)常用;電關式(B) | |||||||||||
|
輸入信號 |
0~10mA 4~20mA DC | |||||||||||
|
供電電源 |
220V;50~60Hz | |||||||||||
|
固有可調比R |
30:1 | |||||||||||
|
項目 |
技術性能指標 |
|
基本誤差% |
≤±5 |
|
回差% |
≤3 |
|
死區% |
≤5 |
|
泄漏量 |
0.01%×閥額定容量 |
|
額定流量系數誤差% |
≤±10 |
|
閥體材料 |
材料牌號 |
公稱壓力(MPa) |
適用溫度范圍(℃) | |
|
常溫型 |
散熱型 | |||
|
鑄鐵 |
HT200 |
1.6 |
-20~200 |
- |
|
鑄鋼 |
ZG230~450 |
4.0,6.4 |
-40~250 |
-40~450 |
|
鑄不銹鋼 |
ZG1Cr18Ni9Ti
ZG0Cr18Ni12Mo2Ti |
4.0,6.4 |
-40~250 |
-60~450 |
|
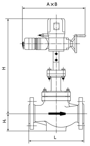
公稱通徑DN(mm) |
A×B |
L |
H1 |
H2 | |||
|
PN1.6 |
PN4.0 |
PN6.4 |
常溫型 |
散熱型 | |||
|
25
32 |
230×460 |
185 |
190 |
200 |
670 |
820 |
104 |
|
200 |
210 |
210 |
673 |
823 |
107 | ||
|
40 |
220 |
230 |
235 |
693 |
843 |
126 | |
|
50 |
250 |
255 |
265 |
698 |
848 |
131 | |
|
65 |
275 |
285 |
295 |
799 |
959 |
175 | |
|
80 |
230×530 |
300 |
310 |
320 |
809 |
969 |
190 |
|
100 |
350 |
355 |
370 |
821 |
981 |
202 | |
|
125 |
410 |
425 |
440 |
872 |
1087 |
250 | |
|
150 |
450 |
460 |
475 |
882 |
1097 |
260 | |
|
200 |
260×630 |
550 |
560 |
570 |
924 |
1139 |
302 |
|
250 |
670 |
66 |
670 |
1156 |
1368 |
422 | |
|
300 |
740 |
785 |
800 |
1215 |
1427 |
484 | |
九、設計訂貨及選型須知事項:
1、①產品名稱與型號②公稱直徑③產品壓力④產品材質⑤使用介質⑥產品溫度⑦是否帶附件以便我們的為您正確選型。
2、如有特殊要求時請在訂購產品時注明。
3、若已經由設計單位選定的型號,請按型號直接向我司銷售部訂購。
4、當使用的場合非常重要或環境比較復雜時,請您盡量提供設計圖。
十、售后服務承諾:
1、我公司所售中偉調節閥產品在十二個月以內出現質量問題的,負責免費維修。
2、質保期內如我公司產品出現任何質量問題,我公司負責免費維修或更換。
3、質保期內如用戶使用不當,造成產品損壞,我公司負責維修,收取損壞部件成本費。
4、質保期后產品出現質量問題,我公司負責維修,收取損壞部件成本費。
5、如用戶需我公司現場服務,對省內用戶我公司服務人員12小時內到達現場,省外用戶48小時內到達現場。
6、攜手中偉測控,共創美好未來!我公司投訴電話: 0517-86918678。


